Technology leaders around the globe rely on JST connectors to bring their innovations to life.
All Products >> Product Category >> Wire-to-Wire Connectors >Product Series >> TCS connector (CS family)
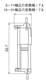
Series Description
Secure locking structure・Countermeasure for unexpected prying insertion
To purchase this product, find a distributor or representative in your area. You can also request a free sample. If you have questions, call (800) 947-1110.