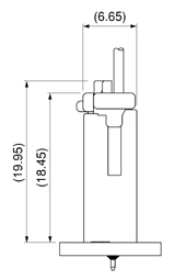
This is a board-to-wire connector with secure locking device that has been designed to 2 mm pitch high box type, with a mounting height of 19.95 mm (including retainer) and 6.65 mm in depth. Low insertion force type contact is adopted and it provides excellent operability. Retainer is available as usage.